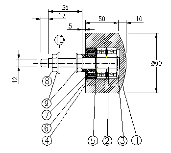
| Undervandsrulle Ø 90 - Tegning nr. 31.090.012.0073 |

| INDEX |
BESKRIVELSE |
| 1 |
Hus. Pom |
| 2 |
Aksel Ø 17 h 9 RF |
| 3 |
Seegerring. U 17 RF |
| 4 |
Præcisionskugleleje RF 6203 2RS |
| 5 |
Seegerring. I 40 RF |
| 6 |
Labyrinttætning, indvendig part. komposit |
| 7 |
Labyrinttætning, udvendig part. komposit |
| 8 |
Møtrik. M 16 RF |
| 9 |
Spændeskive. M 16 RF |
| 10 |
Tætningsskive med o-ring (ikke standard) |
|
|
|