| Undervandsrulle ø63 - A17 - Tegning nr. 31.063.016.9824 |
|

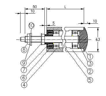
| INDEX |
BESKRIVELSE |
| 1 |
Endedæksel. Pom |
| 2 |
Rør Pom |
| 3 |
Seegerring. U 17 RF |
| 4 |
Præcisionskugleleje type 6203 RS |
| 5 |
Aksel ø17 mm h9 RF |
| 6 |
Labyrinttætning, indvendig part. komposit |
| 7 |
Labyrinttætning, udvendig part. komposit |
| 8 |
Møttrik. M 16 RF |
| 9 |
Spændeskive. M16 RF |
| 10 |
Tætningskive med o-ring (ikke standard) Pom ø30 x 3 |
|
|
|