Afskraber serie 8700 Mini Oversigt Afskrabere
Anvendelse - Forskrabning
ÅRHUSVEJ 18
DK 8362 HØRNING
TELEFON 8692 1093
TELEFAX 8692 4293

E-mail
*
BILLEDGALLERI
*

Sortiment

Art nummer Båndbredde Skrabebredde Antal vridefjedre Bjælkelængde Vægt
8703 300 290 1 690 1,3 kg
8704 400 390 1 790 1,6 kg
8705 500 490 1 890 1,9 kg
8706 600 590 2 990 2,3 kg
8707 700 690 2 1090 2,6 kg
8708 800 790 2 1190 2,9 kg
8709 900 890 2 1290 3,2 kg
8710 1000 990 2 1390 3,5 kg
8711 1100 1090 2 1490 3,8 kg
8712 1299 1190 2 1490 4,1 kg
Alle mål i mm

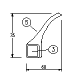
Del af tegning nummer 54.000.000.8700

1 Holder med polyuretanbøsning
2 Afskraberliste. Naturfarvet polyuretan. Kan leveres gul og rød
3 Rør for afskraberliste. Rustfri stål SIS 2333
4 Vridefjeder. Skrabere fra og med 600 mm båndbredde har vridefjeder i begge ender
5 Afskraberliste på  bjælke